Get an exact fit for your vehicle. Choose for Me to Minimize Cost Choose for Me to Minimize Cost.
I bought a cheap fuel pump on line.
1999 dodge caravan fuel pump. Order Fuel Pump for your 1999 Dodge Grand Caravan and pick it up in storemake your purchase find a store near you and get directions. Your order may be eligible for Ship to Home and shipping is free on all online orders of 3500. Check here for special coupons and promotions.
We currently carry 10 Fuel Pump products to choose from for your 1999 Dodge Caravan and our inventory prices range from as little as 9999 up to 44063. On top of low prices Advance Auto Parts offers 5 different trusted brands of Fuel Pump products for the 1999 Dodge Caravan. For 1998-2000 Dodge Caravan Fuel Pump Assembly Mopar 57641JB 1999 FLEX Fuel Pump Fits.
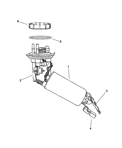
1999 Dodge Caravan Includes Sending Unit Fuel Screen and Tank Seal. Dodge Grand Caravan Flex 1999 Fuel Pump Module Assembly by Replace. The fuel pump module assembly is mounted in the fuel tank and includes the electric fuel pump fuel strainer and fuel gauge sending unit.
No or low fuel pressure may. Fuel Pump Housing Assembly. Choose for Me to Minimize Cost Choose for Me to Minimize Cost.
DODGE 1999 CARAVAN 30L V6 Fuel Air Fuel Pump Housing Assembly. No parts for vehicles in selected markets. AUTOBEST Includes Fuel Pump Fuel Pressure Regulator Sending Unit.
This video provides helpful step- by- step tips in replacing the fuel pump on a 1996-2002 Dodge Caravan Plymouth Voyager or Chrysler Town and Country. 1999 Dodge Caravan fuel pump. Is there a way you can check the fuel pump to see if it is working.
I changed the fuel filter and nothing. My son ran the van out of gas a lot of times and I figured that trash has built up in the fuel system and the pump quit working. The fuel pump in the Dodge Caravan is mounted inside the fuel tank like many other vehicles.
You need to detach the tank from the van to remove and replace the pump module but the job is simpler than on many other vehicles. This fuel pump also contains its own filter – sometimes called a strainer – that might need replacing. 1999 Dodge Caravan Relay - Fuel Pump.
1999 DODGE CARAVAN RELAY - FUEL PUMP. 1-3 of 3 Results. ACDelco 1 Duralast 1 Valucraft 1 This is a test.
DIYSAVE10 Online Ship-to-Home Orders Only. Get an exact fit for your vehicle. Find great deals on eBay for 1999 dodge caravan fuel pump.
Dodge Caravan 1999 Fuel Pump Module Assembly by Replace. The fuel pump module assembly is mounted in the fuel tank and includes the electric fuel pump fuel strainer and fuel gauge sending unit. No or low fuel pressure may be caused.
The average price of a 1999 Dodge Caravan Passenger fuel pump replacement can vary depending on location. Buy a 1999 Dodge Caravan Fuel Pump at discount prices. Choose top quality brands API Action Crash Airtex Autobest Bosch Brute Power Carter DIY Solutions Delphi Denso Dorman GMB Mopar Spectra Premium TRQ TYC.
I bought a cheap fuel pump on line. Looks like Im going to replace it with a good one from a good auto parts store. It is acting like its a bad fuel regulator.
Nice of dodge to put the regulator on top of the fuel pump. I think a new pump will fix the problem. Thanks for your advice again.
Fuel Vapor Leak Detection Pump Filter Dorman 310-260 Fits. 1999 Dodge Caravan 5 out of 5 stars 2 2 product ratings - Fuel Vapor Leak Detection Pump Filter Dorman 310-260. Fuel Pump Housing Assembly.
Choose for Me to Minimize Cost Choose for Me to Minimize Cost. DODGE 1999 GRAND CARAVAN 33L V6 Fuel Air Fuel Pump Housing Assembly. No parts for vehicles in selected markets.
AUTOBEST Includes Fuel Pump Fuel Pressure Regulator. I have been driving this vehicle forever it seems and the only breakdown repair required was a new fuel pumpin the gas tank at 65000 miles. I bought this used 1999 Dodge Grand Caravan SE.
To keep your Dodge auto performing optimally order the authentic OEM 1999 Dodge Grand Caravan FUEL SYSTEM Fuel Injection replacement parts it needs online with us.