My fuelmisselectronicfuel filter Please help I own a 2000 Dodge Neon. Diesel engines often use a turbo turbocharger and intercooler to boost engine power output but a worn diesel fuel injector pump could mean a rough running engine or lack of power.
Since electronic fuel injectors have almost completely supplanted old carburetor systems current Dodge Neon Fuel Pumps must deliver fuel under pressure.
2000 dodge neon fuel pump. 2000 Dodge Neon Fuel Pump. 2000 Dodge Neon Fuel Pump. 1-3 of 3 Results.
1-3 of 3 Results. Delphi 1 Denso 1 Spectra Premium 1 This is a test. DIYSAVE10 Online Ship-to-Home Orders Only.
Delphi Gasoline Fuel Pump DFG0280 183. We currently carry 4 Fuel Pump products to choose from for your 2000 Dodge Neon and our inventory prices range from as little as 13999 up to 22911. On top of low prices Advance Auto Parts offers 3 different trusted brands of Fuel Pump products for the 2000 Dodge Neon.
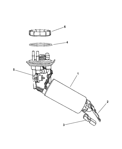
For 2000 Dodge Neon Fuel Pump Assembly Denso 59128YV Fuel Pump First Time Fit Fits. Dodge Neon 2000 Fuel Pump Module Assembly by GMB. The modern fuel system is electronically controlled by on-board computers.
It is designed to adjust and optimize the airfuel ratio that is delivered to the engine as driving. 100 Pressure and Flow-rate tested in-house Includes all required hardware for installation. Dodge Neon 2000 In-Tank High Performance Electric Fuel Pump Kit by Walbro.
Make your vehicle faster and more powerful with premium-quality performance fuel system parts stocked on our website. Manufactured using the highest grade. Designed For Engines With More Than 500 Horsepower Award-Winning OE-Based Technology.
2000 Dodge Neon Fuel Pump And Strainer. 2000 Dodge Neon Fuel Sensors Relays And Electrical. 2000 Dodge Neon Fuel Tank And Sending Unit.
Popular Brands Duralast Gold Chassis AC Pro AC Delco Avalanche Castrol Show All. Popular Makes Ford Parts Chevrolet Parts Honda Parts Toyota Parts Dodge Parts Show All. Dodge Neon Bad Fuel Pump.
The symptoms of a bad fuel pump match a lot of other common problems that can occur in the Dodge Neon. Testing the pump and pressure on each side of it are going to be the quickest ways to rule it out. If there is anything you would like to add please leave a comment below.
2000 DODGE NEON HAS NO POWER TO THE FUEL PUMP POWER TO RELAY FUSES ARE ALL GOOD WIRES OHM OUT AND ARE ALL GOOD - Answered by a verified Dodge Mechanic We use cookies to give you the best possible experience on our website. The average price of a 2000 Dodge Neon fuel pump replacement can vary depending on location. This is a video to show you how to change the fuel pump or remove the gas tank on a 95-99 Dodge Neon.
Plymouth Neon fuel pump replacement with review of Prime Choice pump vs. We show how to disconnect all electrical fuel and filler connections. Diesel engines often use a turbo turbocharger and intercooler to boost engine power output but a worn diesel fuel injector pump could mean a rough running engine or lack of power.
Visit your local NAPA Auto Parts for all your 2000 Dodge Neon fuel and emissions needs including diesel heavy duty truck and agricultural. 2000 Dodge Neon ES 4 Cyl 20L. 2000 Dodge Neon High Line 4 Cyl 20L.
Includes fuel sender pump. Dodge Neon Fuel Pump Customer Reviews. DriveMotive Electric Fuel Pump With Fuel Sending Unit.
Your Dodge Neon will be happy to know that the search for the right Fuel Pump products youve been looking for is over. Advance Auto Parts has 14 different Fuel Pump for your vehicle ready for shipping or in-store pick up. The best part is our Dodge Neon Fuel Pump products start from as little as 12999.
APDTY 113764 Fuel Vapor Leak Detection Pump Fits 2000 Chrysler Neon 2000-2002 Dodge Neon 2000-2001 Plymouth Neon Replaces 4891417AB. Your Dodge Neon Fuel Pump helps force gasoline from the gas tank to your automobiles engine where its combined with air for use inside the cylinders. Since electronic fuel injectors have almost completely supplanted old carburetor systems current Dodge Neon Fuel Pumps must deliver fuel under pressure.
They are therefore electronic. 2000 Dodge Neon wont start but cranks 3 Answers. Going 65 all the sudden heard a pop check engine light came on I panicked turn the car off go to the side now the car wont start turns over fuel pump working Airways unclogged and Sparks in all fo.
My fuelmisselectronicfuel filter Please help I own a 2000 Dodge Neon. Recently my car started I cant say missing cause its not doing it all the time. 2000 Plymouth Neon PositionNA 2000 Dodge Neon PositionNA.
Fuel Pump Assembly w Sending UnitDenso First Time Fit Fuel Pump Assemblyw Sending Unit 953-3031. 2000 Dodge Neon VINC 2000 Plymouth Neon VINC. Assembled Product Dimensions L x W x H 1838 x 862 x 662 Inches.